February 5, 2018
Amazon has patented designs for a wristband that can precisely track where warehouse employees are placing their hands and use vibrations to nudge them in a different direction.
The concept, which aims to streamline the fulfilment of orders, adds another layer of surveillance to an already challenging working environment.
When someone orders a product from Amazon, the details are transmitted to the handheld computers that all warehouse staff carry. Upon receiving the order details, the worker must rush to retrieve the product from one of many inventory bins on shelves, pack it into a delivery box and move on to the next assignment.
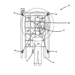
The proposed wristbands would use ultrasonic tracking to identify the precise location of a worker’s hands as they retrieve items. One of the patents outlines a haptic feedback system that would vibrate against the wearer’s skin to point their hand in the right direction.
The result? Human workers can fulfil more orders – until robots develop the dexterity to replace them altogether.
The wristbands are, according to the patent documents, first spotted by GeekWirFacebook
The proposed wristbands would use ultrasonic tracking to identify the precise location of a e, designed as a labour-saving measure to keep track of products throughout the warehouse.
A less generous interpretation would be that the wristbands provide Amazon management with new workplace surveillance capabilities that can identify the workers wasting time scratching, fidgeting or dilly-dallying.
Amazon already has a reputation for turning low-paid staff into “human robots” – working alongside thousands of proper robots – carrying out repetitive packaging tasks as fast as possible in an attempt to hit goals set by handheld computers.
This month, the 24-year-old warehouse worker Aaron Callaway described having just 15 seconds to scan items and place them into the right cart during his night shifts at an Amazon warehouse in the UK. “My main interaction is with the robots,” he said.
In 2016, a BBC investigation found that agency workers making Amazon deliveries reported defecating in bags, speeding and falling asleep at the wheel as they desperately tried to hit ambitious delivery targets issued by an Amazon logistics app.

